SUPERFORM/AF
The SUPERFORM/AF is a machine designed to cut, bend and preform axial components with a lead diameter ranging from 0.5 to 0.8mm. An innovatory preforming system, fully mechanic, allows the rotation of the central feed to stop while two preforming assemblies grip the component leads and preform the leads according to the chosen dies. The components are in this way first cut and .U. bent to the dimensions previously set and then the preforming is made. The cutting and bending parameters as well of the position of the preform are fully adjustable.Different forms can be obtained with this machine, through the easy substitution of the two preforming dies. It is also possible to exclude part of the preforming operation to obtain the cutting and .U. bending only. By use of the variable speed Motor Drive Unit working can be automatic and the production rate can be increased.
| Specifications | |
|---|---|
| Production rate | up to 7000 pcs/hr |
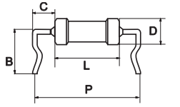
STAND OFF
Dimensions in mm (* can increase, according to the component diameter)
![]() |
P | L | C | H | B | d | D | a | Z | |||||
| min | max | max | min | min | max | min | max | min | max | max | min |
max |
||
| 7915.095 (standard) 420.800 assembly die | 10.5 | 61 | 50 | 1.2 | 6* | 9 | 8* | 11 | 0.5 | 0.8 | 8 | 2.5 | 2 | 4 |
| 7915.095 (standard) 420.750 assembly die | 10.5 | 61 | 50 | 1.2 | 8.5* | 9.5 | 8.5* | 11.5 | 0.6 | 0.9 | 8 | 3 | 2 | 4 |
| 7915.096 (Megerősített) 420.750 assembly die | 10.5 | 61 | 50 | 1.5 | 7* | 12 | 9* | 14 | 0.8 | 1 | 8 | 3 | 2 | 4 |
| 7915.097 (Extra erős) 430.700 assembly die | 13 | 61 | 50 | 2.5 | 11* | 16 | 13* | 18 | 1 | 1.3 | 8 | 4 | 2 | 4 |
STAND OFF - LOCK IN
Dimensions in mm (* can increase, according to the component diameter)
![]() |
P | L | C | H | B | d | D | Z | |||||
| min | max | max | min | min | max | min | max | min | max | max | min |
max |
|
| 7915.095 (standard) 420.850 assembly die | 10.5 | 61 | 50 | 1.2 | 4.5* | 8 | 7.5* | 11 | 0.5 | 0.8 | 8 | 3 | 4 |
| 7915.095 (standard) 420.950 assembly die | 10.5 | 61 | 50 | 1.2 | 4.5* | 8 | 7.5* | 11 | 0.6 | 0.9 | 8 | 3 | 4.5 |
| 7915.096 (Megerősített) 420.950 assembly die | 10.5 | 61 | 50 | 1.5 | 5.5* | 11 | 8.5* | 14 | 0.8 | 1 | 8 | 3 | 4.5 |
STAND OFF - REDUCED PITCH
Dimensions in mm (* can increase, according to the component diameter)
![]() |
P | L | C | H | B | d | D | Z | E | |||||
| min | max | max | min | min | max | min | max | min | max | max | min | max | ||
| 7915.095 (standard) with 420.900 assembly die | 8 | 59 | 50 | 1.2 | 5* | 9 | 7* | 11 | 0.5 | 0.9 | 8 | 2 | 4 | 1.27 |
| 7915.095 (standard) with 420.900 assembly die | 8 | 59 | 50 | 1.5 | 6* | 12 | 8* | 14 | 0.8 | 1 | 8 | 2 | 4 | 1.27 |
| 7915.096 (reinforced) with 430.900 assembly die | 10.5 | 59 | 5 | 2.5 | 9* | 16 | 11* | 18 | 1 | 1.3 | 8 | 2 | 4 | 1.27 |
BODY LOCKED ON PCB
Dimensions in mm (* can increase, according to the component diameter)
![]() |
P | L | C | B | d | D | |||
| min | max | max | min | min | max | min | max | max | |
| 7915.095 (standard) 420.900 assembly die | 10.5 | 61 | 50 | 1.2 | 5 | 8 | 0.5 | 0.8 | 8 |
| Order code | Type | Place an order |
|---|---|---|
| 7915.095 | SUPERFORM/AF standard, without preforming die | {7915.095} |
| 7915.096 | SUPERFORM/AF reinforced, without preforming die | {7915.096} |
| 7915.097 | SUPERFORM/AF extra reinforced without preforming die | {7915.097} |
| 7915.185 | Tape Reel Holder arm BR6 for SUPERFORM | {7915.185} |
| 7915.032 | Motor Unit for SUPERFORM/AF, 230V- 50/60Hz | {7915.032} |
| 7915.184 | Loose Component Feeder CS40 for SUPERFORM/AF | {7915.184} |
| Order code | Type | Place an order |
|---|---|---|
| 420.750 | STAND-OFF preforming die assembly, curl 3mm | {420.750} |
| 420.800 | STAND-OFF preforming die assembly, curl 2.5mm | {420.800} |
| 420.850 | STAND-OFF/LOCK-IN pref. die assembly (d:0.5 - 0.8) | {420.850} |
| 420.900 | STAND-OFF/REDUCED PITCH pref. die assembly | {420.900} |
| 420.950 | STAND-OFF/LOCK-IN pref. die assembly (d:0.6 - 1) | {420.950} |
| 421.000 | BODY LOCKED ON PCB preforming die assembly | {421.000} |
| 430.700 | STAND-OFF preforming die assembly (d:1-1,3mm) | {430.700} |
| 430.900 | STAND-OFF/REDUCED PITCH (d:1-1,3mm) | {430.900} |

Magyar
English


















































