SUPERFORM/VP
SUPERFORM/VP is a machine made for cutting and ending axial taped components for vertical assembling, and shaping a little curl on each reophore.
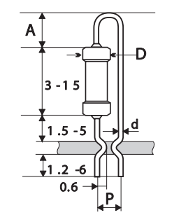
| Model | P | d | A | D | ||
| fix | min | max | min | max | max | |
| Min mm: | 2.54 | 0.5 | 0.8 | 2.8 | 5 | 4 |
| Specifications | |
|---|---|
| Production rate | up to 40000 pcs/hr |

| Order code | Type | Place an order |
|---|---|---|
| 7915.032 | Motor Unit for SUPERFORM, 230V - 50/60Hz | {7915.032} |
| 7915.185 | Tape Reel Holder arm BR6 | {7915.185} |

Magyar
English














































